- 地線對EMC的影響
- 如何進行接地優化
- 為了減少電磁輻射的有效輻射面積,整流二極管、電源濾波電容必須緊靠開關電源變壓器的次級
- 電源濾波電容的地更應該就近與變壓器次級的地連接
- PCB板上還要做到一點接地,即:在這兩個接地點之間不要插入其它的接地點
- 為了減少電磁輻射,要盡量減少電源輸入回路以及功率輸出回路的面積
- 對于功放的供電回路,減少電磁輻射面積最好的方法,是把電源直接接到功放電源輸入腳的兩端
- 輸入信號的輸入地線與信號輸入線要盡量要靠近,并且要平行一起走
地線對EMC的影響
很多人都認為,電路中的地線或接地電路都是不帶電的,實際上,這種認為是錯誤的。在一般的直流電路或低頻電路中,當不考慮電磁感應時,可以認為電路中的地線或接地電路是不帶電的,但在存在電磁感應的電路中,就不要輕易認為電路中的地線或接地電路是不帶電的。
舉個簡單例子吧,誰會相信,幾十萬伏的高壓輸電線的正中心是不帶電的。但事實上,由于電場的相互作用,導體中的電荷分布主要都是集中在導體的外表面,而導體的中心電荷幾乎為0,所以帶電導體的中心是不帶電的。這個原理可以用驗電器在一個帶電空心金屬球的中心進行測試作證明,在一個帶電空心金屬球的中心電場強度的確為零,從而也可證明帶電導體中心的電場強度為零,即不帶電。
在具有電磁感應的電路中,無論電路是否閉合回路,或者是開路,在與電場方向一致的導體中都會產生位移電流,無論是導體或者是絕緣體在電場中都會產生極化帶電;當電場的方向不斷改變時,電流的方向也會跟隨電場的方向改變而改變,電流將一會兒向前跑,一會兒向后跑。導體被極化帶電的過程,可參考圖12中的天線被極化的過程。另外,磁感應也會使導體或電路產生感應電動勢,使導體或電路帶電。
一個被充滿電的電容器,它的兩個電極就是帶電體,一端帶正電,另一端帶負電,而真正不帶電的地方是在電容器的中間;同理,一個被感應的變壓器次級線圈,它的兩個輸出端口也會帶電,而真正不帶電的地方只有在變壓器線圈的中間抽頭處。嚴格來說,只有電位為零的物體,我們才能稱它不帶電;或者說,只要電位不為零的物體我們都應該稱它為帶電體。但這樣一來,我們實際中接觸到很多的具體電路就只能用等效電路來表示了,所以,有時把問題太復雜化了也不好,但過于簡單有時也會把實質性的問題給掩蓋住了。
一只小鳥,如果它站在電視發射天線的中間,它一般是不會產生觸電危險的,但如果它站在電視發射天線的某一端,它可能會立刻被電死。這說明發射天線的中間是不帶電的,而發射天線的兩端都是帶電的。但為什么小鳥站在幾十萬伏的高壓線上,它沒有被觸電,而站在只有幾十伏電壓的發射天線的某一端上卻會被電死呢?這就是電磁感應的性質,微波爐就是根據電磁感應原理制造的。
小鳥站在高壓線上沒被電死的原因,是因為小鳥的電容很小,雖然幾十萬伏的高壓對它來回充放電,電流很?。╥ = C●dv/dt);而小鳥站在發射天線的某一端,因為發射天線電壓信號的頻率很高,電容來回充放電的電流很大,因此,小鳥很容易會被電死。
由此可知,如果把多個不是真正零電位的電路或帶電體互相連接在一起,接點處將會出現電流。比如,三相變壓器的中線一般都接地,當三相電源負載不平衡的時候,接地處就會產生電流;又如,把變壓器次級線圈的一端接地,接地端也會產生電流,而電流的大小與變壓器次級線圈的電容有關,與工作頻率也有關,與輸出電壓也有關。
在進行電路設計的時候,對地線的連接和處理一定要特別慎重,否則將會出現嚴重的地線干擾。這里再次指出,一般電路中的地,不是大地,其電位并不等于零,它只不過是一根公共連接線,當它沒有與大地連接時,我們更不應該把它看成地線。理想的地線應該是,電位處處為零,即:在理想的地線中是沒有電流流動的,如果導體中有電流流動,我們就不能把它當成地線。
下面我們以圖18為例來分析地線對EMC產生的影響。圖18中Q1表示開關電源,T1為開關變壓器,D1為整流二極管,C1、C2、C3為濾波電容器,A1為功率放大器,S1為功率放大器輸入信號,R1為功率放大器輸出負載,G1、G2、G3、G4、G5、G6、G7、G8為各個器件的地;Ui表示整流輸出電壓,Uo表示經過濾波后的輸出電壓。
我們先來看G1,G1是開關電源變壓器次級的地,這個G1地的電位不是0,變壓器次級真正的0電位是在變壓器次級線圈的中心抽頭處,如果變壓器次級線圈的兩個端子不接成回路,它相當于一個振子天線;如果把G1與大地相接,哪怕變壓器次級線圈的另一端不與其它電路連接,G1也會產生地電流,并且變壓器次級線圈熱端的電位會升高一倍,其工作原理與廣播電臺的中波發射天線的工作原理很類似。
變壓器輸出電壓經二極管D1整流后為脈動直流,脈動直流含有非常豐富的高頻諧波,不能直接向功率放大器供電,必須要經過儲能濾波,使脈動直流變成一種紋波很小的直流后,再給功率放大器供電。

圖18中C1是儲能濾波電容,它的功能是把開關電源輸出的脈沖功率進行存儲,然后再給負載提供穩定的功率和電壓輸出。電容C1充電的時候相當于功率存儲,放電的時候,相當于功率輸出。由于C1的充放電電流特別大,如果電路處理不當,充放電回路產生的電磁干擾將非常嚴重。根據(12)、(13)、(14)、(15)、(16)式可知:產生感應電動勢的大小,與電流的變化律成正比,與磁通的變化率成正比,與產生感應磁通回路的面積成正比,與互感的大小成正比;而充電回路電流的大小,與開關電源輸出電壓的變化率成正比,與充電電容器的大小成正比。
即:
e = L●di/dt (12)
e = dΦ /dt (13)
e = SdB/dt (14)
i = C●dv/dt (15)
e = M●di/dt (16)
圖19是開關電源整流輸出電壓以及電源濾波電容的紋波電壓和紋波電流波形。圖19中紅線表示電容器充電時的電壓、電流變化曲線,藍線表示電容器放電時的電壓、電流變化曲線。其中Ui表示整流輸出電壓,Uo表示經過濾波后的輸出電壓,uc表示濾波電容的紋波電壓,ic表示濾波電容的紋波電流。

由圖19可以看出,電源濾波回路同時存在兩種非常嚴重的電磁輻射,一個由變壓器輸出電壓方波產生的高頻電場輻射,另一個是由電源濾波回路電容器充放電電流產生的高頻磁場輻射,統稱電磁輻射。
為了減少電磁輻射,比較簡便和有效的辦法就是減少電磁輻射的面積,或減少電壓和電流的上升率,減少電壓上升率會增加電源開關管的損耗;減少電流上升率可以在電容充放電回路中串聯一個小電感,但串聯電感又會產生新的磁輻射,并且增加成本。為了減少電磁輻射的有效輻射面積,整流二極管D1、電源濾波電容C1必須緊靠開關電源變壓器的次級,電源濾波電容C1的地G2更應該就近與變壓器次級的地G1連接,并且在PCB板上還要做到一點接地,即:在這兩個接地點之間不要插入其它的接地點。變壓器輸出電壓經過C1電容濾波后,脈動電壓的成分以及高次諧波部分都將會大大減少,此時,G1或G2與大地連接,流入大地的諧波電流也將會大大減小。
我們再看其它的地,G7是功率放大器A1輸出的地,同時G7還是功率放大器A1電源的負極。我們可以把功率放大器A1看成是一個軟開關,功率放大器的輸出級一般都是由兩個推拉管組成,兩個放大管受輸入信號的控制來回導通,不斷地向負載R1提供功率輸出,并且不停地向電源索取能量——電流。流過功率放大器A1或負載R1的電流是脈動電流,因此,功率放大器的電源輸入回路以及功率輸出回路也會向外產生很強的電磁輻射,為了減少電磁輻射,要盡量減少電源輸入回路以及功率輸出回路的面積。
對于功率放大器A1的供電回路來說,減少電磁輻射面積最好的方法,是把電源直接接到功率放大器電源輸入腳的兩端。一個充滿了電的電容可以把它看成是一個電源,因此,C2、C3都可以看成是給功率放大器供電的電源,所以,C2、C3應該盡量靠近功率放大器供電的輸入端,并與電源輸入的兩端緊密相連。C3是高頻電容,它能在很短的時間內輸出較大的電流,即高頻響應好,并且體積比C2小,它靠近功率放大器的電源輸入端更為便利,對減少電磁輻射很有利。因此,G4應該優先與G7連接,其次是儲能電容C2的地G3,最好G7、G4、G3三個地能夠接在一個點上,即在它們之間不要插入其它接地點,最后G7再與G8相連。C2是一個大容量儲能電容,但它瞬間不能提供出大電流,因此,需要并聯一個高頻電容C3。
G5是信號源的地,G6是功率放大器輸入信號的地,理所當然它們兩個地應該連接在一起。功率放大器輸入信號的回路很容易被其它電流回路產生電磁感應干擾,因此,輸入信號回路的面積也要盡量地小,輸入信號的輸入地線與信號輸入線要盡量要靠近,并且要平行一起走,使電磁感應在每根信號線上產生的干擾信號,對放大器來說,均為共模信號,這樣可以互相抵消。如果G5和G6不是一點接地,G5和G6之間產生的電位差將會成為放大器輸入信號的一部分,即:干擾信號通過地線會串擾到輸入信號之中,將會被破壞放大器的正常工作,嚴重時還會使放大器出現自激。

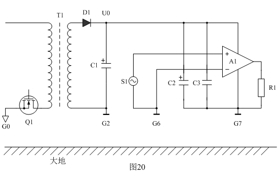
圖20是經過接地優化以后的原理圖,經過接地優化以后,原來圖19中的8個接地點現在減少5個,變成了3個,然后,這3個接地點之間不管用導線怎么樣互相連通,在連接的導線(地線)中都不會出現大的脈動電流或者互相產生信號干擾,如果把其中任何一個接地點與大地連接,也不會產生大的脈動電流。因此,經過接地優化以后,不但可以降低設備中各部分電路之間通過地線產生的各種信號互相干擾,同時`也可以降低本設備對其它設備產生的干擾。
結束語
最后指出,抑制電磁輻射干擾的最有效方法是對電磁場進行屏蔽,用導體把兩個帶電體之間的電力線截斷,或用高導磁率的磁性材料把產生干擾磁場的物體進行屏蔽。但用于電場屏蔽的導體需要良好接地才能有效,如果屏蔽電場的導體不能良好接地,屏蔽電場的導體不但起不到屏蔽作用,反而對電場輻射干擾起到接力賽的效果,因為電場也會通過感應使屏蔽導體帶電。另外,用導體對磁感應干擾進行屏蔽,也會產生意想不到的作用。因為,磁力線穿過導體的時候,也會產生感應電流,即:渦流。渦流又會產生磁場,這個新產生的磁場的方向正好與干擾磁場的方向相反,兩者正好可以互相抵消。
目前,對電磁兼容EMC電路設計,還沒有一種有效的方法能像設計一個放大器那樣,可以通過計算使放大器的放大倍數精確到百分之幾以內。對電磁兼容EMC進行設計的主要方法還是靠經驗或借助別人的經驗,需要不斷實踐才會不斷提高。
編后記:至此,陶老師談電磁干擾與電磁兼容系列文章已連載完畢,網友們可以把這些文章串起來再看一遍以得到完整系統的印象。有任何電磁兼容方面的問題也可在電子元件技術網上舉辦的由陶老師親自擔任專家的 電子系統的電路保護與電磁兼容 論壇里向陶老師提問。稍后,我們還會繼續連載陶老師的系列技術文章,敬請關注。



