中心論題:
- EMI濾波器的構造原理、基本電路及典型應用
- EMI濾波器在開關電源中的應用
- EMI濾波器的主要技術參數及測量插入損耗的方法
解決方案:
- 采用兩級濾波,抑制串模、共模干擾
- 單片開關電源采用簡易式單級EMI濾波器
- 逐點測出插入損耗,繪出插入損耗曲線
- 用電子開關對兩種測試電路進行快速切換
隨著電子設備、計算機與家用電器的大量涌現和廣泛普及,電網噪聲干擾日益嚴重并形成一種公害。特別是瞬態噪聲干擾,其上升速度快、持續時間短、電壓振幅度高(幾百伏至幾千伏)、隨機性強,對微機和數字電路易產生嚴重干擾,常使人防不勝防,這已引起國內外電子界的高度重視。
電磁干擾濾波器(EMI Filter)是近年來被推廣應用的一種新型組合器件。它能有效地抑制電網噪聲,提高電子設備的抗干擾能力及系統的可靠性,可廣泛用于電子測量儀器、計算機機房設備、開關電源、測控系統等領域。
電磁干擾濾波器的構造原理及應用
a.構造原理
電源噪聲是電磁干擾的一種,其傳導噪聲的頻譜大致為10kHz~30MHz,最高可達150MHz。根據傳播方向的不同,電源噪聲可分為兩大類:一類是從電源進線引入的外界干擾,另一類是由電子設備產生并經電源線傳導出去的噪聲。這表明噪聲屬于雙向干擾信號,電子設備既是噪聲干擾的對象,又是一個噪聲源。若從形成特點看,噪聲干擾分串模干擾與共模干擾兩種。串模干擾是兩條電源線之間(簡稱線對線)的噪聲,共模干擾則是兩條電源線對大地(簡稱線對地)的噪聲。因此,電磁干擾濾波器應符合電磁兼容性(EMC)的要求,也必須是雙向射頻濾波器,一方面要濾除從交流電源線上引入的外部電磁干擾,另一方面還能避免本身設備向外部發出噪聲干擾,以免影響同一電磁環境下其他電子設備的正常工作。此外,電磁干擾濾波器應對串模、共模干擾都起到抑制作用。
b.基本電路及典型應用
電磁干擾濾波器的基本電路如圖1所示。

該五端器件有兩個輸入端、兩個輸出端和一個接地端,使用時外殼應接通大地。電路中包括共模扼流圈(亦稱共模電感)L、濾波電容C1~C4。L對串模干擾不起作用,但當出現共模干擾時,由于兩個線圈的磁通方向相同,經過耦合后總電感量迅速增大,因此對共模信號呈現很大的感抗,使之不易通過,故稱作共模扼流圈。它的兩個線圈分別繞在低損耗、高導磁率的鐵氧體磁環上,當有電流通過時,兩個線圈上的磁場就會互相加強。L的電感量與EMI濾波器的額定電流I有關,參見表1。

需要指出,當額定電流較大時,共模扼流圈的線徑也要相應增大,以便能承受較大的電流。此外,適當增加電感量,可改善低頻衰減特性。C1和C2采用薄膜電容器,容量范圍大致是0.01Μf~0.47μF,主要用來濾除串模干擾。C3和C4跨接在輸出端,并將電容器的中點接地,能有效地抑制共模干擾。C3和C4亦可并聯在輸入端,仍選用陶瓷電容,容量范圍是2200Pf~0.1μF。為減小漏電流,電容量不得超過0.1μF,并且電容器中點應與大地接通。C1~C4的耐壓值均為630VDC或250VAC。圖2示出一種兩級復合式EMI濾波器的內部電路,由于采用兩級(亦稱兩節)濾波,因此濾除噪聲的效果更佳。針對某些用戶現場存在重復頻率為幾千赫茲的快速瞬態群脈沖干擾的問題,國內外還開發出群脈沖濾波器(亦稱群脈沖對抗器),能對上述干擾起到抑制作用。
EMI濾波器在開關電源中的應用
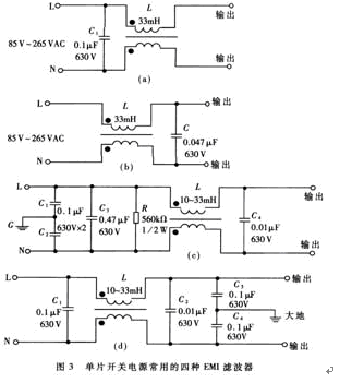
為減小體積、降低成本,單片開關電源一般采用簡易式單級EMI濾波器,典型電路如圖3所示
圖(a)與圖(b)中的電容器C能濾除串模干擾,區別僅是圖(a)將C接在輸入端, 圖(b)則接到輸出端。圖(c)、(d)所示電路較復雜,抑制干擾的效果更佳。圖(c)中的L、C1和C2用來濾除共模干擾,C3和C4濾除串模干擾。R為泄放電阻,可將C3上積累的電荷泄放掉,避免因電荷積累而影響濾波特性;斷電后還能使電源的進線端L、N不帶電,保證使用的安全性。圖(d)則是把共模干擾濾波電容C3和C4接在輸出端。
EMI濾波器能有效抑制單片開關電源的電磁干擾。圖4中曲線a為不加EMI濾波器時開關電源上0.15MHz~30MHz傳導噪聲的波形(即電磁干擾峰值包絡線)。曲線b是插入如圖3(d)所示EMI濾波器后的波形,能將電磁干擾衰減50dBμV~70dBμV。顯然,這種EMI濾波器的效果更佳。

EMI濾波器的技術參數及測試方法
a.主要技術參數
EMI濾波器的主要技術參數有:額定電壓、額定電流、漏電流、測試電壓、絕緣電阻、直流電阻、使用溫度范圍、工作溫升Tr、插入損耗AdB、外形尺寸、重量等。上述參數中最重要的是插入損耗(亦稱插入衰減),它是評價電磁干擾濾波器性能優劣的主要指標。
插入損耗(AdB)是頻率的函數,用dB表示。設電磁干擾濾波器插入前后傳輸到負載上的噪聲功率分別為P1、P2,有公式:
AdB=10lg P1/P2(1)
假定負載阻抗在插入前后始終保持不變,則P1=V12/Z,P2=V22/Z。式中V1是噪聲源直接加到負載上的電壓,V2是在噪聲源與負載之間插入電磁干擾濾波器后負載上的噪聲電壓,且V2<<V1。代入(1)式中得到
AdB=20lg (2)
插入損耗用分貝(dB)表示,分貝值愈大,說明抑制噪聲干擾的能力愈強。鑒于理論計算比較煩瑣且誤差較大,通常是由生產廠家進行實際測量,根據噪聲頻譜逐點測出所對應的插入損耗,然后繪出典型的插入損耗曲線,提供給用戶。

圖5給出一條典型曲線。由圖可見,該產品可將1MHz~30MHz的噪聲電壓衰減65dB。
計算EMI濾波器對地漏電流的公式為
ILD=2πfCVC(3)
式中,ILD為漏電流,f是電網頻率。以圖1為例,f=50Hz,C=C3+C4=4400pF,VC是C3、C4上的壓降,亦即輸出端的對地電壓,可取VC≈220V/2=110V。由(3)式不難算出,此時漏電流ILD=0.15mA。C3和C4若選4700pF,則C=4700pFX2=9400pF,ILD=0.32mA。顯然,漏電流與C成正比。對漏電流的要求是愈小愈好,這樣安全性高,一般應為幾百微安至幾毫安。在電子醫療設備中對漏電流的要求更為嚴格。
需要指出,額定電流還與環境溫度TA有關。例如國外有的生產廠家給出下述經驗公式:
I=I1(4)
式中,I1是40°C時的額定電流。舉例說明,當TA=50℃時,I=0.88I1;而當TA=25℃時,I=1.1511。這表明,額定電流值隨溫度的降低而增大,這是由于散熱條件改善的緣故。
b.測量插入損耗的方法
測量插入損耗的電路如圖6所示。

e是噪聲信號發生器,Zi是信號源的內部阻抗,ZL是負載阻抗,一般取50Ω。噪聲頻率范圍可選10kHz~30MHz。首先要在不同頻率下分別測出插入前后負載上的噪聲壓降V1、V2,再代入(2)式中計算出每個頻率點的AdB值,最后繪出插入損耗曲線。需要指出,上述測試方法比較煩瑣,每次都要拆裝EMI濾波器。為此可用電子開關對兩種測試電路進行快速切換。




