【導讀】LoRaWAN是在具有廣域、遠距離、低速、低耗電量等特點的LPWA(Low Power Wide Area)無線通信中,利用不需要無線局許可證的非授權頻段(Sub-GHz頻帶)的規格。LoRaWAN是一種非蜂窩LPWA,由非營利組織LoRa Alliance制定,并經國際電信聯盟[ITU]批準后于2021年12月成為國際標準。
1. 什么是LoRaWAN?
LoRaWAN是在具有廣域、遠距離、低速、低耗電量等特點的LPWA(Low Power Wide Area)無線通信中,利用不需要無線局許可證的非授權頻段(Sub-GHz頻帶)的規格。LoRaWAN是一種非蜂窩LPWA,由非營利組織LoRa Alliance制定,并經國際電信聯盟[ITU]批準后于2021年12月成為國際標準。
LoRaWAN是一種無線網絡系統,它通過將一臺或少數網關與配備多個LoRaWAN模塊的終端設備連接來使用。此處的終端設備是指控制終端應用(例如,普通照明和攝像頭等的傳感器)的通信終端。
LoRaWAN不需要運營商的通信網,允許用戶在自己的公司構建和運營網絡,由于其不受用途和業務規模的限制,易于引入,所以用戶數量逐年增加。
1.1 LoRaWAN與蜂窩LPWA
LoRaWAN是一種非蜂窩LPWA標準,同與運營商簽訂合同后使用線路的蜂窩LPWA相比,它可以降低運營成本。此外,也不需要考慮其使用場所能否與運營商的基站進行穩定的通信。
而且,由于它也可構建公司自己完全獨立的網絡環境,因此可以實現私密且安全的無線通信環境,不需要通過外部公司的線路。
關于蜂窩LPWA與非蜂窩LPWA的規格比較,請參考前文:什么是LPWA(Low Power Wide Area)無線通信 - 基礎篇。
1.2 LoRaWAN的主要用途
主要用途有生活基礎設施中的智能儀表、智能城市、智能建筑、公共交通智能化、制造業物聯網化、基于物流貨物和人員的位置信息的跟蹤、環境傳感、智能農業等。與蜂窩LPWA不同,它不受運營商的服務區域限制,并且可以以相對較低的成本進行運營,因此作為一種適用于多種領域的物聯網和M2M的無線通信方式在全球范圍內受到的關注程度越來越高。
我們將在本文的“后篇”介紹一些使用LoRaWAN的事例(敬請期待!)
2. LoRaWAN的通信協議棧
在許多情況下,通過查看已實現的通信協議棧可以了解該通信方法的特征。
無論是無線還是有線,電氣通信都是通過按照通信協議來發揮作用的。關于什么是通信協議,請參考前文:無線通信的基礎知識-無線機制。
下表給出了LoRaWAN模型和OSI參考模型中通信協議棧各層的作用和對應關系。OSI參考模型是協議棧的國際標準模型。目前,該模型的協議棧并未被原封不動地使用,但它是一個參考模型,是協議棧的基礎,因此經常被用來與設備中實現的多種協議進行比較。
表:OSI參考模型和各層的作用、LoRaWAN模型
從上表可以看出,LoRaWAN模型的棧有3層,而互聯網通信協議——TCP/IP模型有4層,因此,LoRaWAN模型的協議構成更簡單。這使協議更新更加容易并有助于縮短響應時間。
下圖顯示了LoRaWAN的通信協議棧。在此,我們將對LoRaWAN的協議棧以及LoRa和LoRaWAN各自在協議中的含義和作用等進行說明。
LoRaWAN的通信協議棧
2.1 什么是LoRa(物理層)?
位于上圖底部物理層的LoRa是Long Range(遠距離)的縮寫,指的是由美國的SEMTECH公司基于頻譜擴散的一種——CSS(Chirp Spread Spectrum)開發的無線調制方式。
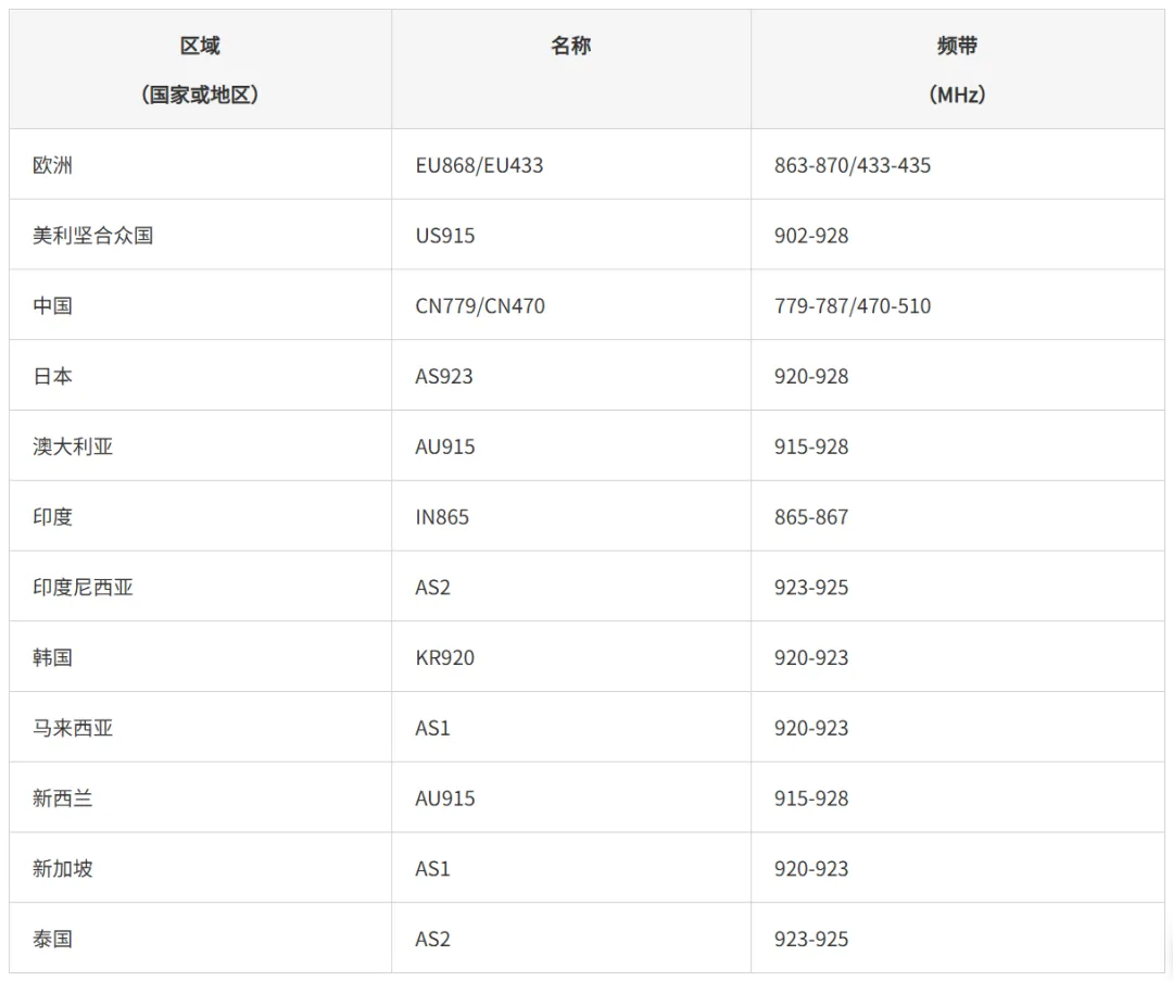
此外,LoRa的ISM頻段如下表所示是按國家和地區分別設定的。( ISM頻段是由國際電信聯盟(ITU)制定、不需要許可證即可在工業(Industry)、科學(Science)和醫療(Medicine)等領域使用的頻帶。ISM頻段當中有全球通用的和按區域(國家和地區)劃分的ISM頻帶,LoRa被設定為后者。)
表:按區域(部分)劃分的LoRa頻帶
2.2 什么是LoRaWAN(MAC層)?
MAC是Media Access Control的縮寫,中文也稱為媒體訪問控制,它在分層通信協議中除了定義和分配識別設備的MAC地址之外,還對控制信號發送時間段、分割發送數據、組裝(發送)和分解(接收)添加目的地地址等控制數據后的幀、錯誤檢測等規定了方法。
MAC層的LoRaWAN是非蜂窩LPWA的標準名稱,同時也指LoRaWAN網絡的通信協議(通信中的約定)。 在LoRaWAN中,終端設備沒有IP,而是使用MAC(設備ID)連接到網關并進行無線通信。
此外,MAC選項有Class A / Class B / Class C,它們在終端設備和網關之間的雙向通信中具有不同的上行和下行通信方案和間隔,與耗電量相關的設備側接收槽的打開/關閉動作等也不一樣。
3. 構建LoRaWAN網絡
構建LoRaWAN網絡,該如何配置LPWA設備、網關、服務器等?
LoRaWAN是一種非蜂窩LPWA標準,因此它不像蜂窩LPWA設備的無線通信那樣使用運營商的基站和通信網。
在LoRaWAN中,數據通信在終端設備(配備了LoRaWAN模塊的傳感器等)與支持LoRaWAN的網關之間以無線方式進行。數據通過該網關傳輸到通信協議與LoRaWAN不同的網絡服務器、應用服務器等。
下面,我們將介紹使用LoRaWAN構建的主要網絡事例。
3.1 自制LoRaWAN網絡
非蜂窩LPWA不需要無線局許可證,因此也可以通過公司自己準備配備了LoRaWAN模塊的終端設備,再加上支持LoRaWAN的網關、網絡服務器、應用服務器等來構建系統。
自建自營的LoRaWAN網絡構建事例
如上圖所示,其優點是可以通過公司自己構建和運營整個環境來使用私密且安全的無線解決方案。此外,各服務器可以部署在本地(公司內部環境),也可以利用公司簽約的云服務器。
3.2 利用運營商的LoRaWAN網絡
在只使用一段時間或者公司內部沒有與SI和網絡相關的人才等不適合由公司自己構建LoRaWAN環境時,也可以利用銷售或出租的支持LoRaWAN通信協議的網關,或利用提供云服務等的運營商。
利用運營商服務的LoRaWAN網絡構建事例
如上圖所示,在某些情況下,支持LoRaWAN的網關、網絡服務器以及某些情況下的應用服務器也是在與運營商簽訂付費合同后使用的。服務內容因運營商而異,但可以將網關的引入和服務器維護等全部委托給運營商可以說是其優點之一。
此外,支持LoRaWAN的網關能與多臺設備連接和通信,網關可專門供簽約用戶使用,也可通過由多個簽約用戶共用來降低使用費用。
此外,除了網關之外,一般都會提供云服務。如果簽訂網關或服務器合同,將按月收取費用。然而,與因使用手機通信網而需要與運營商簽訂合同的蜂窩LPWA相比,一般認為非蜂窩LPWA式LoRaWAN的網絡服務器運營商等收取的服務費更低。
預告
我們將在“LoRaWAN(非蜂窩LPWA)入門 - 事例篇”介紹具體的物聯網使用事例,比如:
使用LoRaWAN的物聯網解決方案事例:防災系統、智能農業、智能儀表等;
使用LoRaWAN的太陽能發電設施的智能化。
以及村田制作所的LoRaWAN模塊的特點和產品陣容。
文章來源:Murata村田中國
免責聲明:本文為轉載文章,轉載此文目的在于傳遞更多信息,版權歸原作者所有。本文所用視頻、圖片、文字如涉及作品版權問題,請聯系小編進行處理。
推薦閱讀:




